Toggle navigation
Главная
Продукция
О компании
Доставка
Сервис
Помощь
Условия покупки
Контакты
0
Двигатели Briggs & Stratton
Двигатели для газонокосилок
Двигатели Briggs & Stratton Vanguard
Двигатели для садовых тракторов
Двигатели с горизонтальным валом
Двигатели для снегоуборщиков
Гоночные двигатели Briggs & Stratton
Генераторы Briggs & Stratton
Бензиновые генераторы Briggs & Stratton
Газовые генераторы Briggs & Stratton
Расходные материалы Briggs & Stratton
Наборы техобслуживания Briggs & Stratton
Масла и присадки Briggs & Stratton
Снегоуборщики Briggs & Stratton
Одноступенчатые снегоуборщики Briggs&Stratton
Двухступенчатые снегоуборщики Briggs&Stratton
10L902-0536-E1
10L902-0536-E1
По популярности
По цене
Товаров на странице
6
9
12
18
Увеличить
1 Воздушный фильтр, топливный бак, глушитель, карбюратор 10L902-0536-E1
Подробнее
Увеличить
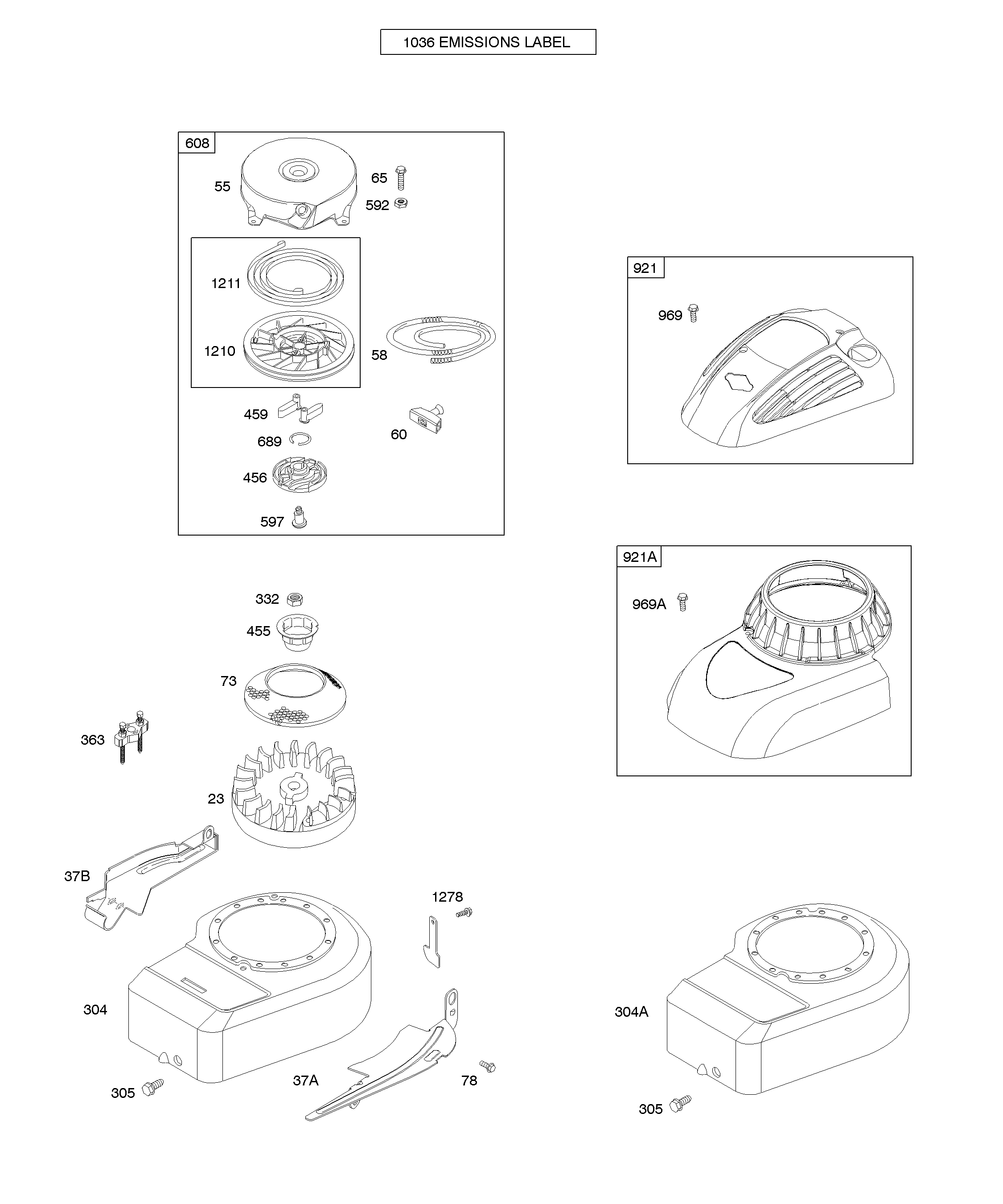
2 Стартер, корпус стартера, маховик 10L902-0536-E1
Подробнее
Увеличить
3 Магнето, регулятор, пружина регулятора, тормоз маховика 10L902-0536-E1
Подробнее
Увеличить
4 Коленчатый вал, поршень, кольца, шатун, прокладки 10L902-0536-E1
Подробнее
Увеличить
5 Блок двигателя, головка цилиндра, прокладки 10L902-0536-E1
Подробнее