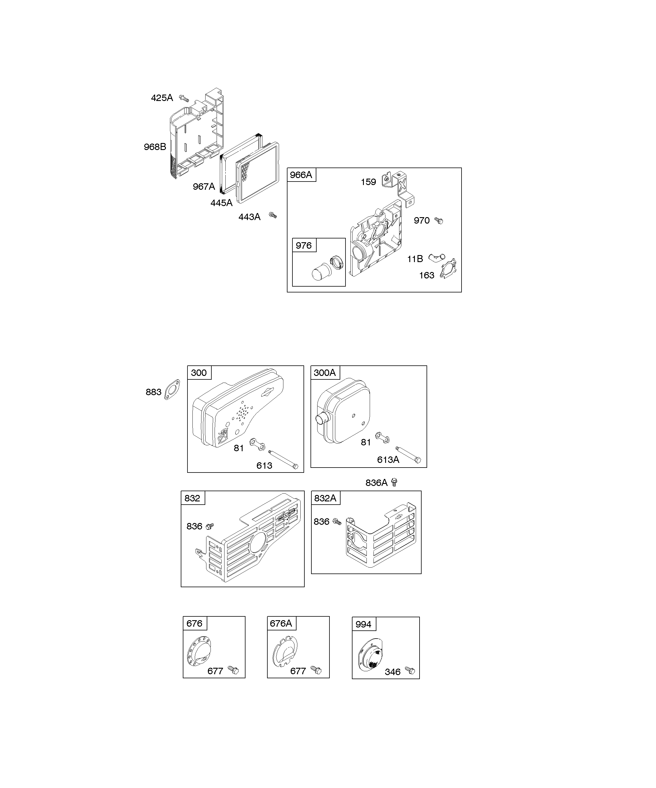
129802-0918-01