Toggle navigation
Главная
Продукция
О компании
Доставка
Сервис
Помощь
Условия покупки
Контакты
0
Двигатели Briggs & Stratton
Двигатели для газонокосилок
Двигатели Briggs & Stratton Vanguard
Двигатели для садовых тракторов
Двигатели с горизонтальным валом
Двигатели для снегоуборщиков
Гоночные двигатели Briggs & Stratton
Генераторы Briggs & Stratton
Бензиновые генераторы Briggs & Stratton
Газовые генераторы Briggs & Stratton
Расходные материалы Briggs & Stratton
Наборы техобслуживания Briggs & Stratton
Масла и присадки Briggs & Stratton
Снегоуборщики Briggs & Stratton
Одноступенчатые снегоуборщики Briggs&Stratton
Двухступенчатые снегоуборщики Briggs&Stratton
129807-2861-B1
129807-2861-B1
По популярности
По цене
Товаров на странице
6
9
12
18
Увеличить
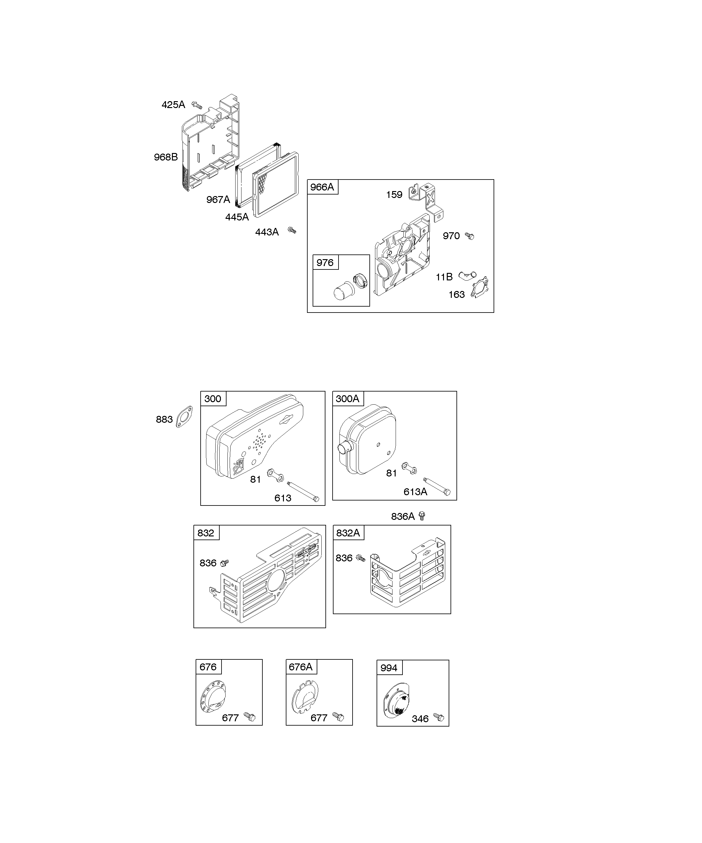
1 Корпус фильтра, воздушный фильтр, глушитель 129807-2861-B1
Подробнее
Увеличить
2 Магнето, электрический стартер 129807-2861-B1
Подробнее
Увеличить
3 Защитные крышки стартера 129807-2861-B1
Подробнее
Увеличить
4 Коленчатый вал, поршень, кольца, шатун, прокладки 129807-2861-B1
Подробнее
Увеличить
5 Карбюратор, детали карбюратора 129807-2861-B1
Подробнее
Увеличить
6 Топливный бак, регулятор, пружина регулятора 129807-2861-B1
Подробнее
Увеличить
7 Стартер, корпус стартера, маховик 129807-2861-B1
Подробнее