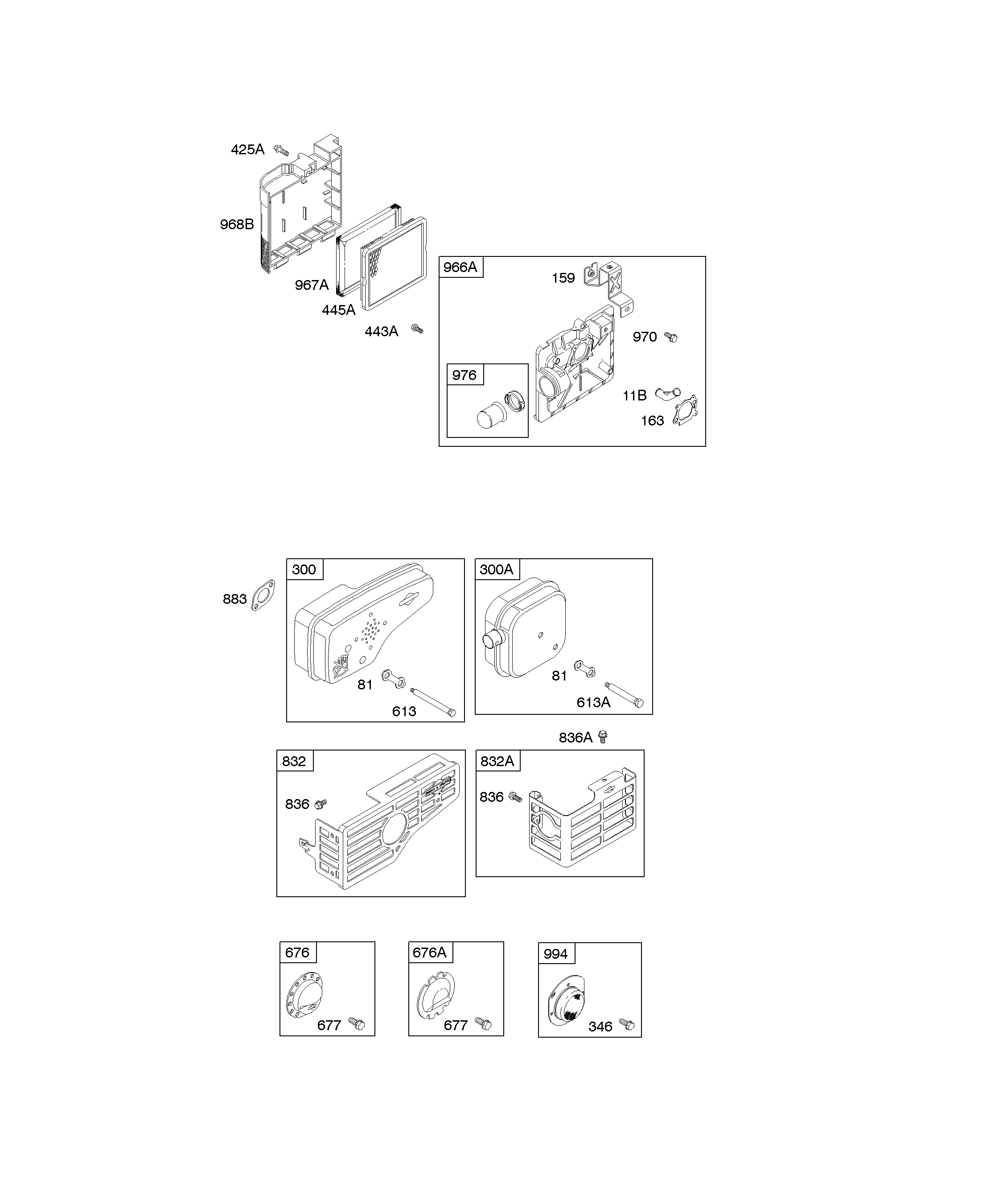
129882-1913-B1