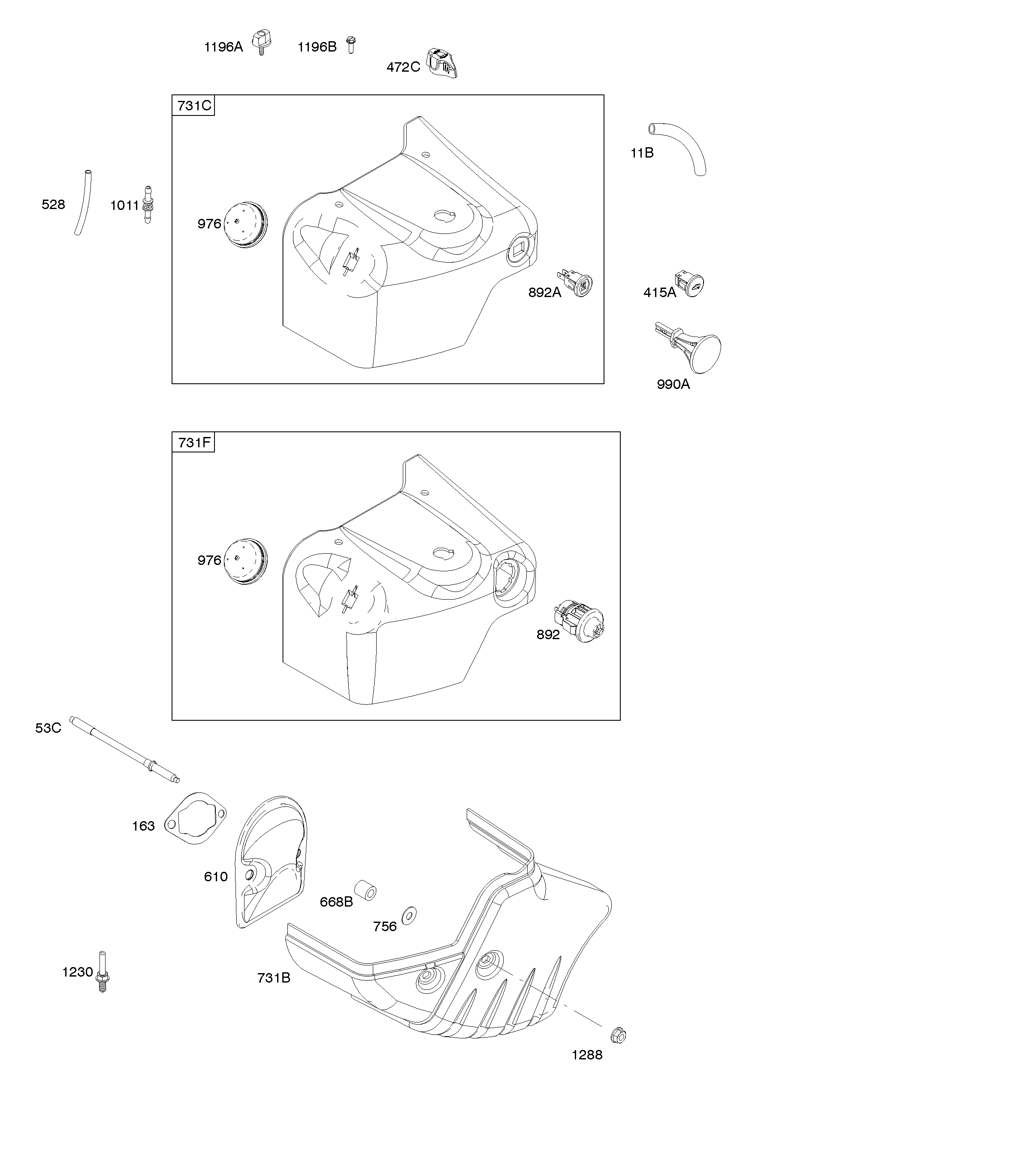
20M314-3480-H2